Bộ điều Chỉnh Tốc độ động Cơ: Phân Loại, Cấu Tạo Và Nguyên Lý Hoạt ...
Có thể bạn quan tâm
Bộ điều chỉnh tốc độ động cơ là gì ?
Bộ điều chỉnh tốc độ động cơ là bộ phận làm nhiệm vụ chính của hệ thống điều chỉnh tự động tốc độ động cơ là giữ cho số vòng quay của động cơ luôn luôn nằm trong một giới hạn quy định. Hệ thống này gồm hai phần tử chính là động cơ và bộ điều tốc. Trong hệ thống điều chỉnh tự động tốc độ động cơ thì tốc độ góc (hoặc số vòng quay) của trục khuýu động cơ là thông số điều chỉnh, còn bản thân động cơ là đối tượng điều chính của hệ thống.
Phân loại bộ điều chỉnh tốc độ động cơ
Hiện nay có rất nhiều loại bộ điều tốc khác nhau. Việc sử dụng bộ điều tốc loại nào là tùy thuộc vào loại động cơ, đặc điểm của máy công tác và yêu cầu của toàn bộ thiết bị. Có thế phân loại bộ điều tốc dựa vào những đặc điểm sau:
- Theo phần tử cảm ứng, người ta chia thành bốn loại: điểu tốc cơ khí, điều tốc chân không, điều tốc thủy lực và điều tốc điện tử.
- Theo số chế độ điều chỉnh, người ta chia thành: bộ điều tốc một chế độ (điều tốc giới hạn hoặc điều tốc chính xác), bộ điều tốc hai chế độ và bộ điều tốc nhiều chế độ.
- Theo sự liên kết, người ta chia thành: bộ điều tốc trực tiếp và bộ điều tốc gián tiếp. Trong bộ điều tốc trực tiếp thì phân tử cảm ứng được nối trực tiếp với cơ cấu điều khiến động cơ (thanh răng trong bơm cao áp). Trong bộ điều tốc gián tiếp thì phần tử cảm ứng điều khiến bộ khuếch đại và bộ khuếch đại được nối với cơ cấu điều khiến động cơ.
- Theo tính chất liên kết của mối liên hệ ngược người ta chia các bộ điều tốc gián tiếp ra thành ba loại: điều tốc liên hệ ngược nối cứng, điểu tốc liên hệ ngược nối mềm (điều tốc hằng tốc), và điều tốc liên hệ ngược hỗn hợp.
- Theo số phần tử cảm ứng, người ta chia thành: điểu tốc một xung và điều tốc hai xung.
- Theo phương pháp làm tăng độ chính xác của bộ điều tốc ở số vòng quay thấp người ta chia thành ba loại: điểu tốc dùng nhiều lò xo tác dụng dần, điều tốc thay độ nghiêng của lỏ xo và điều tốc thay đổi tỷ số truyền của cánh tay đòn.
Ngày nay, trong động cơ ô tô sử dụng phố biến bộ điều tốc cơ học tác dụng trực tiếp mọi chế độ. Nó đơn giản về cấu tạo và bên chắc trong sử dụng.
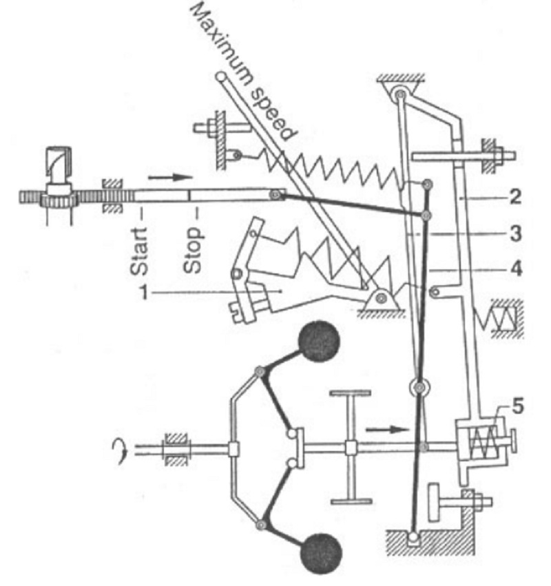
Bộ điều chỉnh tốc độ động cơ kiểu ly tâm mọi chế độ RSV của Bosch

Hình 9.55. Bộ điều chỉnh tốc độ động cơ kiểu ly tâm mọi chế độ RSV của Bosch.
1-Giá đỡ bộ điều tốc; 2-Lò xo kéo; 3-Thanh răng điều khiến; 4-Đòn dẫn; 5-Bộ cân bằng; 6-Đòn xoay; 7Dòn điều khiến; 8-Vỏ bộ điều tốc; 9-Chốt khống chế không tải/dừng; 10 Đòn ép; 11-Đòn tựa; 12-Lò xo bộ điều tốc; 13-Lò xo hỗ trợ không tải; 14-Lò xo điều khiển tăng tốc; 15-Quả văng; 16-Ống lớt; 17-Đòn bẩy;18- Chốt hạn chế đây tải

Hình 7.2 - Sơ đồ của Bộ điều chỉnh tốc độ động cơ kiểu ly tâm mọi chế độ RSV của Bosch.
1-Piston bơm cao áp; 2-Thanh răng điều khiển; 3-Chốt hạn chế tốc độ cực đại; 4-Cần điều khiến; 5-Lò xo; 6-Khóp bản lễ; 7-Bộ phận cân bằng; 8-Trục cam; 9-Moay ở điều chính; 10-Quả văng; 11-Thanh trượt; 12-Chốt hỗ trợ không tải; 13-Dòn dẫn; 14-Đòn bẩy; 15-Lò xo điều chỉnh; 16-Lò xo hỗ trợ không tải; 17-Thanh ép; 18-Lò xo điều khiến mô men xoắn; 19-Chốt hạn chế đầy tải.
Cấu tạo bộ điều chỉnh tốc độ động cơ kiểu ly tâm mọi chế độ RSV của Bosch
Cấu tạo của bộ điều tốc ly tâm mọi chế độ RSV được thế hiện trên hình (7.1) và (7.2).
Nguyên lý hoạt động bộ điều chỉnh tốc độ động cơ kiểu ly tâm mọi chế độ RSV của Bosch
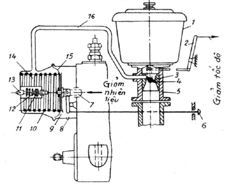
Ở chế độ không tải (hình 9.56): Thanh răng ở vị trí tỳ vào chốt giới hạn phía trên. Như vậy, lò xo điều chỉnh hầu như hoàn toản tự do và gần như nằm ngang. Lò lo điều chính có một tác động rất nhẹ ở vị trí này vì vậy lò xo điều chính di chuyến về phía ngoài ngay cá ở tốc độ rất thấp. Thanh trượt và đòn dẫn cũng di chuyển về phía bên phải. Trong lúc đó, trục bản lẻ cũng di chuyển về phía phải làm cho thanh răng di chuyển về phía nút chặn tới vị trí không tải. Dỏn bẩy chuyển động lên trên tỳ vào lò xo hỗ trợ không tải để hỗ trợ việc điều khiến tốc độ không tải.

Hình 9.56. Bộ điều chỉnh tốc độ động cơ ở chế độ không tải.
1-Chốt hạn chế không tải; 2-Chốt giới hạn tắt máy; 3-Lỏ xo bộ điều tốc; 4-Dỏn bấy; 5-Lò xo hỗ trợ không tải; ó-Đỏn ép; 7-Khóp trượt
Tốc độ trung bình và thấp: Chí một sự thay đổi rất nhỏ của cần điều khiến cũng đủ để thay đối thanh răng điều khiến từ vị trí khởi đầu tới vị trí đầy tải. Kim phun sẽ phun một lượng nhiên liệu ở chế độ đầy tải tới xy lanh động cơ và làm tăng tốc độ của động cơ lên. Tốc độ của trục cam tăng lên làm lực ly tâm của quả văng tác động lên lò xo điều chính làm thay đổi vị trí của thanh điều chỉnh, quả văng di chuyển ra ngoài và đấy khóp trượt, đòn dẫn, đỏn bẩy và thanh răng ngược trở lại về phía giấm lượng nhiên liệu cung cấp. Tốc độ của động cơ không tăng nữa và giữ ổn định nếu các điều kiện khác vẫn không thay đổi.
Hình 7.4 - Bộ điều tốc ở tốc độ động cơ trung bình và thấp.
Ở tốc độ cao: Về cơ bản, nếu cần điều khiến di chuyến về phía chốt giới hạn tốc độ cực đại thì việc điều chỉnh giống như ở trên, chí khác là lúc này đòn bẩy ép hoàn toàn lên lò xo điểu chỉnh vì lúc này lực ly tâm rất lón, và đẩy đỏn ép vào chốt giới hạn đây tải. Lúc này thanh răng ở vị trí cung cấp đầy tải và tốc độ động cơ tăng lên làm cho quả văng tiếp tục mở ra. Ngay khi đạt được tốc độ đầy tái, lực ly tâm tác động lên lò xo ép của bộ điều tốc đấy đòn bấy lệch về phía bên phải. Khóp trượt, ống dẫn và thanh răng di chuyến về phía chốt giới hạn. Việc điều chỉnh này được thực hiện ngay khi chất lượng nhiên liệu phun giảm đi cho phù hợp với điểu kiện tải mới. Tốc độ cực đại đạt được khi toàn bộ tải được loại bỏ khỏi động cơ.

Hình 9.57. - Bộ điều tốc độ động cơ ở tốc độ cao.
Khi dựng động cơ: Lúc này thanh răng dược chuyển tới vị trí dừng động cơ bằng cách chuyển cần điều khiến về vị trí dừng, phần trên của cần điều khiển xoay sang bên phải của thanh trượt. Sau khi kết thúc, thanh trượt được trả về vị trí ban đầu bằng lò xo.
Bộ điều chỉnh tốc độ động cơ chân không mọi chế độ
Bộ điều tốc chân không hoạt động theo quy luật biến thiên của độ chân không trong đường ống hút theo số vòng quay của động cơ. Ưu điểm chính của bộ điều tốc này là cấu tạo đơn giản, kích thước nhỏ, lực để điều khiến chế độ tốc độ của động cơ tương đối nhỏ và không có các chỉ tiết mài mỏn v. v.... Người ta thưởng lắp bộ điều tốc chân không trên các động cơ vận tải cao tốc hoạt động trong một phạm vi tương đối rộng, vì trong suốt phạm vi tốc độ ấy bộ điều tốc chân không có thể dễ dàng đảm bảo độ không đồng đều như nhau, trong khi đó với bộ điều tốc cơ khí thì rất khó thực hiện.

Hình 9.58. Sơ đồ bộ điều tốc độ động cơ chân không mọi chế độ.
1-Lọc gió; 2-Cần điều khiến tốc độ; 3-Họng; 4-Bướm gió; 5-Dường ống hút; 6- Nút kéo; 7-Thanh răng bơm cao áp; 8-Lỗ thông với khí trời; 9-Ngăn bên phải của bộ điều tốc; 10-Lò xo bộ điểu tốc; 11-Lỏ xo; 12-Chốt tựa; 13-Vít điều chỉnh; 14-Ngăn bên trái của bộ điều tốc; 15-Màng mỏng; 16-Ống nối.
Trên hình (9.58) giới thiệu sơ đổ bộ điểu tốc chân không mọi chế độ. Trong ống hút 5 của động cơ có đặt họng 3. Trong họng có bướm gió 4, vị trí của bướm gió do tay đòn 2 điều khiến. Khi động cơ hoạt động, không khí đi qua bình lọc 1 và họng 3 đi vào đường ống hút 5. Màng 15 chia thân bộ điều tốc làm hai ngăn: ngăn trái 14 và ngăn phải 9. Ngăn trái 14 ăn thông với họng 3 nhở đường ống 16, còn ngăn phải thông với khí trời qua lỗ 8. Màng 15 vừa làm mặt tựa của lò xo 14 và vừa được nối với thanh răng 7 của bơm cao áp. Khi bướm gió nằm ở một vị trí nhất định, nếu thay đối số vòng quay của động cơ thì tốc độ không khí đi qua họng sẽ thay đổi theo và do đó làm thay đối độ chân không ở họng. Càng tăng số vòng quay của động cơ thì độ chân không trong ngăn 14 càng lón làm cho màng 15 cảng ép lỏ xo 10 kéo thanh răng bơm cao áp sang bên trái về phía giắm lượng nhiên liệu cung cấp. Nêu giảm số vòng quay của động cơ thì độ chân không sẽ giảm theo và lò xo 10 sẽ đẩy màng 15 và thanh răng bơm cao áp sang bên phải về phía tăng lượng nhiên liệu cung cấp.
Mỗi vị trí bướm gió do tay đòn 2 điều khiến sẽ tương ứng với một chế độ tốc động của động cơ. Càng mở rộng bướm gió thì tốc độ của động cơ càng lớn. Lỏ xo 11 có tác dụng làm tăng độ ốn định của bộ điều tốc khi động cơ chạy chậm ở chế độ không tải hoặc ít tải. Vít 13 dùng để điều chính độ căng của lỏ xo 11. Trong quá trình thanh răng bơm cao áp di chuyển về phía giảm lượng nhiên liệu cung cấp, khi tới vị trí nào đó thanh răng sẽ tỳ lên chốt tựa 12, qua đó ép lỏ xo 11. Nếu di chuyển về phía tăng lượng nhiên liệu cung cấp thanh răng cũng sẽ tỳ lên chốt hạn chế lượng nhiên liệu lớn nhất. Nút kéo 6 dùng để cắt nhiên liệu khi tắt động cơ. Khi kéo nút 6, thanh răng sẽ ép các lỏ xo 10 và 11 chuyển về vị trí cắt nhiên liệu. Nhược điểm chính của bộ điều tốc chân không là phải lắp họng và bướm gió trên đường ống nạp, do đó đã làm giảm bớt 20 ~ 30% tiết diện lưu thông của đường ống nạp, làm giảm hệ số nạp và do đó làm giảm công suất của động cơ.
Bộ điều chỉnh tốc độ động cơ kiểu thủy lực và thủy lực cơ khí mọi chế độ
Hầu hết các bộ điều tốc thủy lực đều sử dụng áp suất phía sau bơm chuyến nhiên liệu để điều chính số vòng quay của động cơ.

Hình 9.59. Sơ đồ bộ điều tốc độ động cơ kiểu thủy lực. I-Ống hút; 2-Bơm bánh răng; 3-Van tiết lưu; 4-Ống dẫn; 5-Cần điều khiến tốc độ động cơ; 6-Ống dẫn nhiên liệu tới bơm cao áp; 7-Xy lanh; 8-Piston; 9-Lò xo điều tốc; 10- Thanh kéo; 11-Thanh răng bơm cao áp; 12-Bầu lọc nhiên liệu; 13-Thùng chứa nhiên liệu;14-Van trần.
Bộ điều tốc thủy lực có cấu tạo như sau: bơm chuyển nhiên liệu 2 đo trục cam của bơm cao áp dẫn động, hút nhiên liệu từ thùng chứa 13 và bơm tới van tiết lưu 3. Tiết diện lưu thông của van tiết lưu 3 có thể thay đổi nhờ cần điều khiến 5. Áp suất nhiên liệu trên đường ống 4 phụ thuộc vào số vòng quay của động cơ và tiết điện lưu thông của van tiết lưu 3, áp suất này cũng quyết định vị trí của thanh răng bơm cao áp vì piston § được gắn chặt với thanh răng. Vị trí của van tiết lưu sẽ quyết định chế độ tốc độ của động cơ, càng mở rộng van tiết lưu thì tốc độ của động cơ càng cao.
Ưu điểm chính của bộ điều tốc thủy lực là cấu tạo đơn giản, kích thước nhỏ, các chỉ tiết vận động đều được bôi trơn nên ít mòn. Tuy nhiên nó có hai nhược điểm chính sau đây:
- Hệ số lưu lượng tại van tiết lưu phụ thuộc vào độ nhớt của nhiên liệu, mà độ nhớt của nhiên liệu lại thay đối theo nhiệt độ, vì vậy nếu trạng thái nhiệt của động cơ thay đối sẽ làm thay đối chế độ tốc độ của động cơ và do đó làm số vòng quay điều chính lớn nhất của động cơ không ốn định.
- Nếu nhiên liệu trong thùng chứa bị hết hoặc bị tắc đường ống từ thùng chứa tới bơm chuyển nhiên liệu thì số vòng quay của động cơ sẽ tăng vọt lên và động cơ có thể tiếp tục sử dụng nhiên liệu dự trữ trong bầu lọc để hoạt động thêm một thời gian nữa. Hai nhược điểm trên có thế được khắc phục trong bộ điều tốc liên hợp thủy lực cơ khí được trình bày trên hình sau:

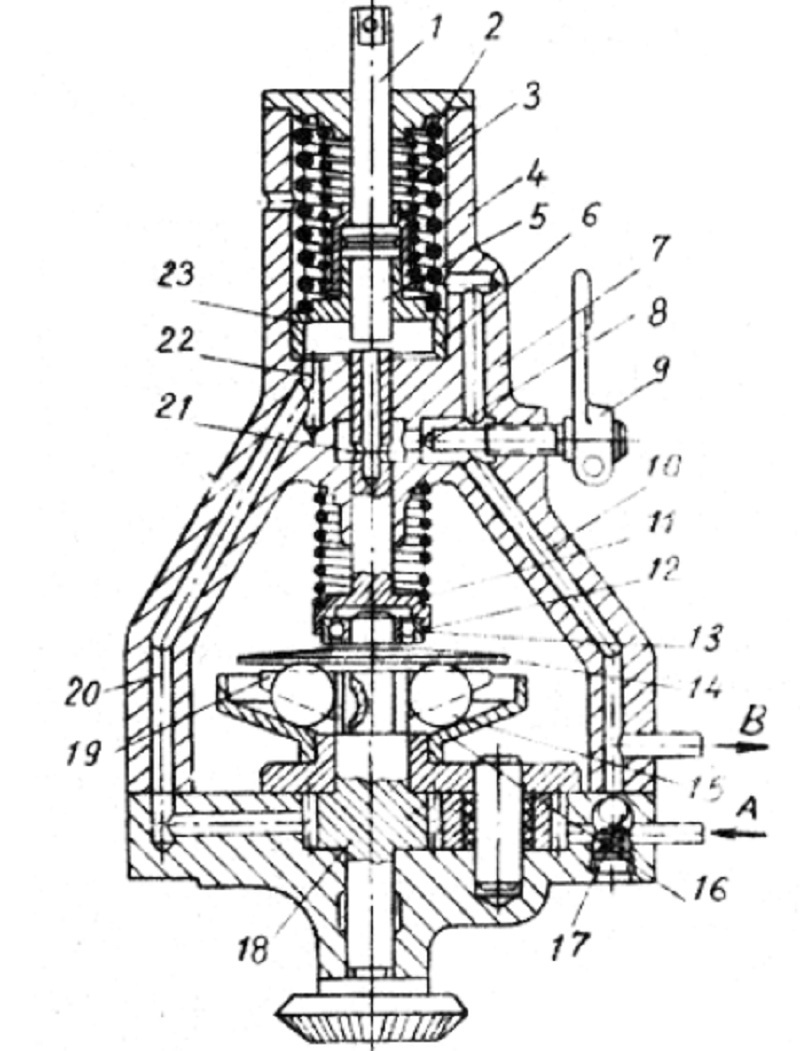
Hình 9.60. Bộ điều tốc độ động cơ kiểu thủy lực cơ khí.
1-Cần piston; 2,3-Lò xo; 4-Thân bộ điều tốc; 5-Con đội; 6-Piston; 7,10,20-Đường ống; 8-Van tiết lưu; 9-Cân điều khiến; 11-Lò xo; 12-Van trượi; 13-Ổ bi; 14-Đĩa phẳng: 15-Quả văng dạng viên bi; 16-Dĩa côn; 17-Van tràn; 18-Bơm chuyến nhiên liệu bánh răng; 19-Đĩa xẻ rãnh; 21-Lỗ thông; 23-Xy lanh.
Ở mọi chế độ, chỉ trừ tốc độ lón nhất, bộ điều tốc làm việc tương tự như bộ điều tốc thủy lực. Bơm chuyển nhiên liệu bánh răng cung cấp nhiên liệu theo đường ống 20 và 22 vào xy lanh 23 của bộ điều tốc, bên trong xy lanh lắp piston, mặt dưới của piston chịu tác dụng của áp suất nhiên liệu, còn mặt trên là mặt tựa của lò xo 2. Từ xy lanh 23, nhiên liệu đi qua lỗ 21 của van trượt, qua van tiết lưu § vào đường ống 10 rồi tới đường B đi qua bầu lọc nhiên liệu vào bơm cao áp. Tiết điện lưu thông của van tiết lưu phụ thuộc vào vị trí của tay đỏn 9. Trên đường nhiên liệu còn có van tràn 17 dùng để ổn định áp suất nhiên liệu trên đường ống dẫn tới bơm cao áp. Càng tăng tiết diện lưu thông của van tiết lưu thì tốc độ của động cơ càng tăng, tới lúc bi 15 của bộ điều tốc đấy van trượt đi lên, tạo ra tiết lưu tại gö trên của van trượt thì áp suất nhiên liệu trong xy lanh 23 tăng, đấy piston 6 đi lên, chuyến thanh răng bơm cao áp về phía giảm nhiên liệu. Từ lúc đó trổ đi, nếu tiếp tục mở rộng van tiết lưu cũng không gây ảnh hưởng gì tới chế độ hoạt động của động cơ.
Như vậy, phần điều tốc cơ khí chỉ có tác dụng khi động cơ hoạt động ở tốc độ lớn nhất, lúc ấy năng lượng của quả văng cũng lón nhất, chính vì vậy mà khối lượng và kích thước của nó tương đối nhỏ và cấu tạo tương đối đơn giản. Nếu cắt nhiên liệu tới bơm chuyển nhiên liệu bánh răng thì do tác dụng của lực lò xo 2, piston 6 sẽ bị đẩy xuống (vẻ phía tăng nhiên liệu), lúc đó số vòng quay của động cơ sẽ tăng lên cho đến khi lực ly tâm của quá văng khắc phục hợp lực của lỏ xo 11 và 3, đấy van trượt đi lên khiến gờ trên của van trượt tỳ vào và đấy con đội 5 đi lên làm cho thanh răng bơm cao áp chuyến về phía giảm nhiên liệu cung cấp giữ cho động cơ không vượt quá số vòng quay quy định. Tuy nhiên tốc độ của động cơ lúc đó vẫn lớn hơn bình thường vì phần điều tốc cơ khí phải khắc phục thêm lực lò xo 3. Nhưng lò xo này rất yếu nên sự khác biệt đó không đáng kế.
Muốn tránh ảnh hưởng của nhiệt độ nhiên liệu tới quá trình làm việc của bộ điều tốc thủy lực cơ khí, người ta đã thay van tiết lưu bằng một van trượt ly tâm. Trên hình (9.61) giới thiệu bộ điều tốc thủy lực có van trượt ly tâm. Bộ điều tốc này được sử đụng trong bơm cao áp phân phối điều chính lượng nhiên liệu cung cấp cho chu trình bằng cách tiết lưu trên cửa hút.

Hình 9.61. Bộ điều tốc độ động cơ kiểu thủy lực có van trượt ly tâm.
A-Không gian trong của rô to; B-Đường nhiên liệu ra; C-Đường nhiên liệu vào; D - Đường nhiên liệu; 1 - Rôto; 2 - Van trượt ly tâm; 3 -Lò xo; 4-Bơm chuyển nhiên liệu; 5 -Van tràn; 6 - Xy lanh bộ điều tốc; 7 - Van; 8 - Chốt kéo; 9-Piston; 10-Lỏ xo; 11-Bơm cao áp; 12- Tay đòn điều khiến.
Nếu tăng số vỏng quay của trục khuỷu sẽ làm tăng số vòng quay của bơm chuyến nhiên liệu 4, do đó làm tăng áp suất nhiên liệu trên đường ống C, mặt khác van trượt ly tâm 2 cũng chạy xa tâm quay làm tăng áp suất nhiên liệu vào không gian A và trong xy lanh công tác 6 của bộ điều tốc. Do áp suất nhiên liệu tăng nên piston 9 bị đấy sang bên phải ép lỏ xo 10 và làm xoay van 7 về phía giảm nhiên liệu cung cấp. Có thế dùng cân điều khiến 12 để thay đối biến dạng cam ban đâu của lò xo 10. Khi độ nhót của nhiên liệu thay đối, van trượt ly tâm 2 có thể tự động thay đối tiết diện đường B và đường C sao cho áp suất nhiên liệu trong không gian A chí phụ thuộc vào số vỏng quay của động cơ.
Từ khóa » Nguyên Lý Bộ điều Tốc Ly Tâm
-
Bộ điều Tốc Ly Tâm – Wikipedia Tiếng Việt
-
Bộ điều Tốc Là Gì? Cấu Tạo Và Nguyên Lý Hoạt động Của Bộ điều Tốc
-
Bộ điều Tốc Là Gì? Cấu Tạo Và Nguyên Lý Bộ điều Tốc động Cơ
-
Bộ điều Tốc ô Tô Cấu Tạo Và Nguyên Lý Hoạt động - VinFast
-
Các Nguyên Lý điều Tốc - Tài Liệu Text - 123doc
-
CÁC NGUYÊN LÝ ĐIỀU TỐC - TaiLieu.VN
-
Bộ điều Tốc Ly Tâm – Du Học Trung Quốc 2022 - Wiki Tiếng Việt
-
Cách Thức Hoạt động Của Bộ điều Tốc Trong Máy Phát điện
-
Bộ điều Tốc Là Gì? Chức Năng Quan Trọng Của Các Bộ điều Tốc
-
Bộ điều Tốc Là Gì ? Nguyên Lý, Tác Dụng Của Bộ điều Tốc Trong động Cơ
-
Nguyên Lý Hoạt động Của Bộ điều Tốc - YouTube
-
Tìm Hiểu Về Bộ điều Tốc Cơ Khí Kiểu Watt - OTO-HUI
-
Bộ điều Tốc Máy Phát điện Có Nguyên Lý Hoạt động Như Thế Nào?