Cảm Biến đo độ PH đất ES-PH-SOIL-01 (RS485 Modbus RTU) - EPCB
Có thể bạn quan tâm
ES-PH-SOIL-01 là cảm biến được thiết kế dể đo nồng độ pH của môi trường đất, phù hơp sử dụng trong nông nghiệp đặc biết là các ngành trông cây công nghiệp theo mua, các ngành nông nghiệp cốt lõi như trồng lúa, trồng rau… Cảm biến được thiết kế với ba phần được cách ly với nhau hoàn toàn: nguồn điện cấp cho cảm biến, đầu dò của cảm biến và tín hiệu ngõ ra. Do đó, cảm biến có thể hoạt động ổn định, an toàn và có thiết kế dễ dàng lắp đặt.

Tính năng
- Đầu dò của sản phẩm sử dụng điện cực pH có tín hiệu ổn định và độ chính xác cao.
- Phạm vi đo rộng từ 3-9pH.
- Khả năng tuyến tính tốt.
- Tiêu chuẩn chống nước cao, an tòa khi sử dụng ngoài trời.
- Thiết kế dạng kim cắm, dễ dằng lắp đặt và sử dụng.

Chỉ khi độ pH của đất khoảng 6,5 thì khả năng hấp thụ và sử dụng các nguyên tố dinh dưỡng là cao nhất, có lợi nhất cho sự sinh trưởng và phát triển của cây trồng. Vì vậy vai trò của cảm biến pH đất là không thể thiếu.
Cảm biến đã được hỗ trợ trên ứng dụng Insight Sensor, Các bạn có thể download và sử dụng tại: Download Insight Sensor
Đọc và thay đổi thanh ghi RS485 Modbus ES-PH-SOIL-01 sử dụng Insight Sensor

Vẽ biểu đồ và lưu trữ data logger ES-PH-SOIL-01 sử dụng Insight Sensor

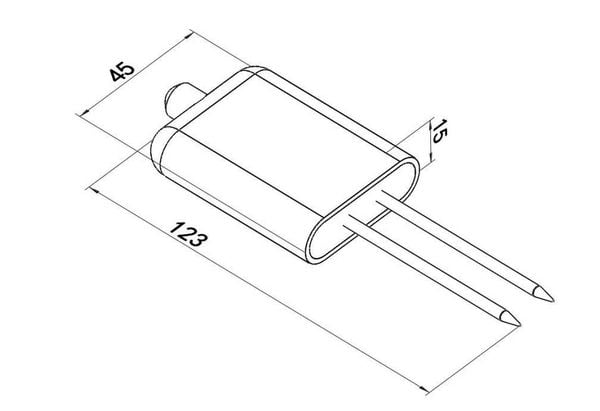
Kích thước

Thông số kỹ thuật
Thông số | Giá trị |
Nguồn điện | DC 5–30V |
Công suất tối đa | 0.5W (nguồn cấp DC 24V) |
Phạm vi đo | 3–9 pH |
Độ phân giải | 0.1 |
Nhiệt độ làm việc | -20°C ~ 60°C |
Độ ổn định dài hạn | ≤5% / năm |
Thời gian đáp ứng | <10 giây |
Thời gian ổn định | ≤5 phút |
Cấp độ bảo vệ | IP68 |
Chất liệu đầu dò | Điện cực chống ăn mòn đặc biệt |
Chất liệu vỏ | Nhựa epoxy chống cháy màu đen |
Kích thước | 45 × 15 × 123 mm |
Tín hiệu đầu ra | RS485 (giao thức Modbus) |
Hướng dẫn sử dụng
Khu vực hoạt động của cảm biến được xác định như sau: Khu vực hình trụ có đường kính 5cm, chiều cào bằng với chiều dài đầu dò của cảm biến và tâm của hình trụ sẽ trùng với vị trí chính giữ 2 đầu dò điện cực. Khu vực hoạt động được minh họa như hình sau:

Phương pháp đo
Đo nhanh: Vị trí đo thích hợp là khu vực ít đá, các vật thể cứng tránh đầu dò xảy ra va chạm trong quá trình lắp đặt. Tùy theo độ sâu cần đọ, người dùng cần loại bỏ lớp đất bề mặt, tuy nhiên cần giữ độ tơi xốp của đất, tránh thay đổi kết cấu đất. Cầm chắc cảm biến và cắm vào vị trí cần đo theo hướng vuông góc với mặt đất. Lưu ý KHÔNG LẮC CẢM BIẾN SANG HAI BÊN khi cắm. Để lấy giá trị chính xác, người dùng nên đo nhiều lần trong phạm vi nhỏ và lấy giá trị trung bình.

Chôn cảm biến: Trước tiên cần đào 1 hố có đường kính 20cm. Tại vị trí cần đo, cắm cẳm biến vào thành hố theo hướng vuông góc với bề mặt thành hố. Sau đó lắp đất thật chặt nhằm giữ cảm biến nằm nguyên tại vị trí đo.

Sơ đồ kết nối dây cảm biến

Màu dây | Chức năng |
Nâu (Brown) | VCC |
Đen (Black) | GND |
Vàng (Yellow) | RS485 A |
Xanh dương (Blue) | RS485 B |
Sơ đồ kết nối hệ thống
- Kết nối trực tiếp với các thiết bị điều khiển PLC, MCU.. thông qua chuẩn giao tiếp RS485
- Hoặc có thể kết nối với máy tính thông qua bộ chuyển đổi USB-TO-RS485, Dễ dàng cấu hình các thông số baudrate, ID và đọc thông tin của cảm biến.
Giao thức truyền thông
Giao thức | Baudrate | Data bits | Stop bits | Parity |
RS485 (Modbus RTU) | 2400bps/4800bps/9600bps có thể thay đổi, (Mặc định sẽ là 4800bps) | 8 | 1 | None |
Bảng thanh ghi
Địa chỉ thanh ghi | Địa chỉ PLC (thập phân) | Nội dung | Thao tác | Giải thích định nghĩa |
0000H | 40001 | Giá trị pH | Chỉ đọc | Giá trị pH thực tế (nhân 10 lần, ví dụ pH = 7.2 → giá trị trả về 72) |
07D0H | 42001 | Địa chỉ thiết bị | Đọc / Ghi | 1 ~ 254 (mặc định là 1 khi xuất xưởng) |
07D1H | 42002 | Tốc độ baud của thiết bị | Đọc / Ghi | 0 = 2400, 1 = 4800, 2 = 9600 |
Ứng dụng

Cảm biến đọ pH đất được sử dụng để đo và đánh giá chất lượng, tình trạng đất một cách chính xác. Thiết bị này được ứng dụng rộng rãi trong nông nghiệp thông minh, lâm nghiệp, khảo sát địa chất và ươm trồng cây giống, giúp người dùng tối ưu việc tưới tiêu, bón phân và cải thiện năng suất cây trồng.
Tài liệu kỹ thuật
Video hướng dẫn sử dụng
Từ khóa » Cảm Biến Ph đất
-
Cảm Biến đo độ PH Của đất Và Thực Phẩm - MLAB
-
Thiết Bị Kiểm Tra Nồng độ PH đất 3 Trong 1 Có Cảm Biến - Shopee
-
Cảm Biến Đo Độ PH - Nshop
-
Cảm Biến đo Ph Chất Lượng, Giá Tốt 2021
-
Cảm Biến đo độ Ph Cho đất Và Thực Phẩm (dfrobot) (order)
-
Cảm Biến đo PH đất, Thịt, Phô Mai Sensorex PH2200 (0-14 PH - EMIN
-
Cảm Biến đo độ PH - IC ĐÂY RỒI
-
Nơi Bán Cảm Biến Do Ph Giá Rẻ, Uy Tín, Chất Lượng Nhất - Websosanh
-
Cảm Biến đo PH
-
Cảm Biến Ph Hshop Bền Đẹp, Rẻ Bất Ngờ, Bán Chạy Nhất - Sendo
-
đất Ph Cảm Biến Tỉ Mỉ để Phân Tích Chính Xác - Alibaba
-
Các Loại Cảm Biến đo độ ẩm đất Trồng - DigiDrone Việt Nam
-
Cảm Biến PH đất - YUNNONG